DK Lok

DPCM-4-1U-S-PE


Customer Support

Real people that care. Give us a call!

310-833-3353

Delivery and Shipping

Fast shipping & delivery.

Local Business

We're a local business, located in San Pedro, CA

  • Item #
    DPCM-4-1U-S-PE
  • Category
    Compression Tube Fittings
  • Sub-Category
    Additional Products
  • Series
    DPCM Calibration Fittings
  • Sub-Series
    DPCM Calibration Fittings
  • Material
    PTFE
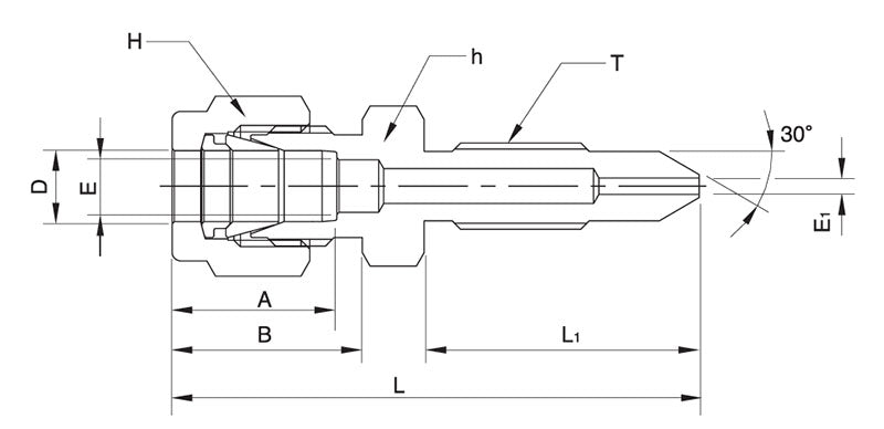
  • E - Min.
    4.8 mm
  • H - Width Across Flat
    9/16 in or 14.3 mm
  • h - Width Across Flat
    1/2 in or 12.7 mm
  • T - Thread Size
    1/4-28
  • L
    43.1 mm
DK Lok

DPCM-4-1U-S-PE

$0.00
View product